昨晚上在微信群里聊天的主题应该 “该如何去赚钱”,夫妻之间不要因为生活上的小事,特别金钱问题影响感情,赚钱每个人都有发财的机会,也需要运气,更需要勤奋,最重要的是和身边什么样的朋友混一起, 如果你身边一群朋友每天都在进步刺激着你,你不想学都不行, 有个流行的段子是这么说的 “如果需要有人前拉后推,那你就离死期不远了,说的是杀猪 ”
生活和工作所有的乐趣都是自己找的, 活着就得给自己找事做,提出问题,解决问题!
steem是一个广泛的知识库,许多人都有自己的特长,之前很少有人把自己的赚钱过程和经历告诉大家,在6月份我创建了一个cn-money标签,也就是希望各行业的朋友把自己赚钱的经历和故事写出来, 有兴趣的朋友请关注cn-money.
今天继续分享两个赚钱案例 "赌BTC期货及SBD搬砖实战"
先说赌BTC期货,之所以加上赌,都是有投资风险的, 这里有许多新人可能没玩过期货,简单介绍下BTC期货,在国内okcoin的国际站可以开户,网站地址:
http://www.okex.com, 身份认证后从okcoin.cn and okcoin.com 内部转账都是免手续费的, 有一些国家是限制的, 名单如下:
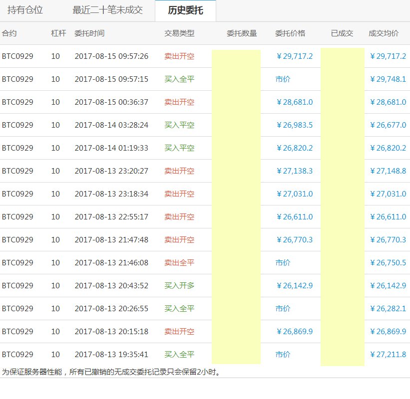
在这个网站可以用10倍杠杆和20倍杠杆交易,每张合约100美元, 换算BTC 约0.0242BTC, 我习惯做的是季度BTC0929, 交易量最大,参与的人多,这两天期货和现货都涨到了30000以上,许多人看到5000刀甚至更高, 我在29700开了空单,来来回回做了几个波段,投入的不多,没放在心上,也没时间盯盘看,坐了几次过山车。 如果心态不好,这里很容易出问题,反复的操作会容易造成亏损, 拿着不动,反而赚了.
这是最新的BTC期货截图,虽然坐过车,很开心赌对了,目标25000平仓
建议新人可少量投入, 10倍杠杆小赌,输赢都不会影响心态,当成学习!
再说说SBD搬砖实战
今天注意到Poloniex和Bittrex两个网站SBD的差价有搬砖空间,P网的充提还在禁止中, 但交易功能没有禁止,它们之间的差价高达30-40%, 以投入1000SBD计算,在B网现价换得0.2369 BTC, 在P网的价格0.000169, 买入0.2369,去掉手续费可得约 1300 - 1400 SBD (主动吃或者等吃)

风险在于sbd什么时候能转账,P网通常是半夜不给提示就开通了,不到半个小时机器人把这40%给搬平了,这样的机会在于提前埋伏, 另外就是BTC的价格, 过几天如果跌到24000以下,也不亏, 你手里多拿了400SBD
更新: P网最新价0.0001616,不到10分钟,可换得1460SBD.
结论: 不要让币爬着不动